Go back

Balancing Machine for Crankshafts 300 EBTK, 310 EBTK - Schenck Vietnam

  • Universal machine concept
  • Automatic unbalance measurement
  • Precision positioning during correction
  • Microprocessor-controlled measuring unit

Sequence of operations

  • Load a crankshaft into the measuring station, manually or by lifting device
  • Close the protective shroud. Automatic measuring run and display measured values.
  • Open the protective shroud and move the crankshaft to the correction stand.
  • Insert the crankshaft into positioning device and couple with angleencoder for optional indexing aid or with locking-pin device
  • Drill correction holes one after another corresponding to the display
  • Return the crankshaft to the measuring station. Automatic check run and display of residual unbalance.
  • Remove the crankshaft. If the crankshaft is still out of tolerance proceed with a second step.
Design

Design

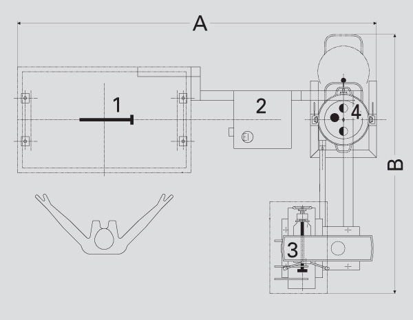
Two-station machine with separate measuring and correction stations. Measuring station with coupling-free roller-drive or hook drive for asymmetrical crankshafts.
Correction station with positioning equipment and electro-mechanical drilling equipment.

Range of application

Measurement and correction of unbalance in machined passengervehicle and light commercial- vehicle crankshafts. Use in small and mid-volume series production or as a repair balancing machine.
Unbalance correction by drilling into the counterweights in one or more steps at a separate drill stand (correction station). Manual handling of the work-pieces between measuring and drilling stations.
Technical data
Technical data at a glance    300 EBTK   310 EBTK   
Measuring unit    CAB 950  CAB 950   
Passenger-vehicle crankshafts     •   •   
Commercial-vehicle crankshafts    •  •   
Balancing unit with roller-drive    •     
Balancing unit with hook-drive       •   
Manual loading and unloading    •  •   
Over-lapping cycle    •  •   
Drilling unit with controlled depth    •  •   
Rotor         
Weight, max. 1)  [kg]  6 - 35  6 - 35   
Total length  [mm]  280 - 790  280 - 790   
Journal distance, max.  [mm]  650  650   
Main journal diameter  [mm]  40 - 75   40 - 80   
Outside diameter, max  [mm]  200  200   
Machine         
Width A 4)  [mm]  3800  3800   
Depth B 4)  [mm]  1300  1300   
Height C 4)  [mm]  2000  2000   
Balancing speed  [min -1]  450 - 600  450 - 600   
Measurement uncertainty 2)  [gmm]  5 - 15   10 - 20   
Cycle time 3)  [s]  45 - 60  45 - 60   
Drill capacity in St 60  [mm]  28  28   
Power consumption  [kVA]  6,5  6,5   
         
Basic machine  Order No.  R0290100.01   R0290200.01   
Options         
Chip extractor  Order No.  R0290103.01   R0290103.01   
Indexing aid   Order No.  R0290104.01   R0290104.01   
         
1) Without bob weights, with manual loading max. 15 kg         
2) Acc. to DIN 1319, 95% probability, work-piece dependent (without unloading)         
3) Dependent on crankshaft design, correction scheme and initial unbalance         
4) Data non-binding, dependent on the respective equipment